ТБП 160-50-1
Характеристики изделия:
| Параметр | Значение |
|---|---|
| длина | 5185 мм |
| ширина | 1840 мм |
| высота | 1840 мм |
| масса | 10000 кг |
| нормативный документ | ГОСТ 6482-2011 |
Цена:
Рассчитать стоимостьСтандарт изготовления изделия: ГОСТ 6482-2011
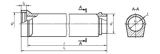
Трубы цилиндрические раструбные безнапорные ТБП 160-50-1 – это бетонные изделия, которые используются для транспортирования различных жидкостей, воздуха или иной субстанции самотеком. Специальный раструб используется для соединения труб между собой. Плотность соединения достигается при обработке стыков герметиком.
Маркировка:
1. ТБП – труба цилиндрическая безнапорная раструбная, уплотняемая герметиками или другими материалами с подошвой;
2. 160 – условный диаметр, указывается в см.;
3. 50 – полезная длина, указывается в дц.;
4. 1 – несущая способность.