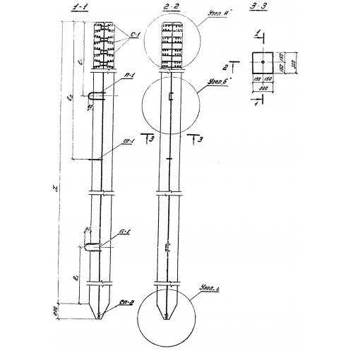
СЦ 12-30
Характеристики изделия:
| Параметр | Значение |
|---|---|
| длина | 12000 мм |
| ширина | 300 мм |
| высота | 300 мм |
| вес | 2676 кг |
| серия | 1.011-2 |
Цена:
Рассчитать стоимостьСЦ 12-30 Сваи квадратного сечения без поперечного армирования ствола по серии 1.011-2.
| Параметр | Значение |
|---|---|
| длина | 12000 мм |
| ширина | 300 мм |
| высота | 300 мм |
| вес | 2676 кг |
| серия | 1.011-2 |
СЦ 12-30 Сваи квадратного сечения без поперечного армирования ствола по серии 1.011-2.
