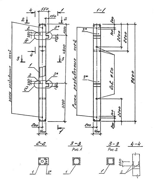
2КСО 48.48

Чертеж изделия:
Характеристики изделия:
ПараметрЗначение
длина9600 мм
ширина400 мм
высота550 мм
масса3880 кг
нормативный документСерия 1.020.1-4

2КСО 48.48   Колонны одноконсольные для средних этажей (Серия 1.020.1-4).

Маркировка с учетом диаметра угловых стержней арматуры, в мм. и марки бетона:

2КСО 48.48-3.20.00

2КСО 48.48-3.22.00

2КСО 48.48-3.25.00

2КСО 48.48-3.28.00

2КСО 48.48-3.32.00

2КСО 48.48-4.32.00

2КСО 48.48-4.36.00

2КСО 48.48-4.40.00

2КСО 48.48-4.28.20

2КСО 48.48-4.32.20

2КСО 48.48-4.32.28