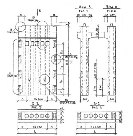
1ВД 26-20

Чертеж изделия:
Характеристики изделия:
ПараметрЗначение
длина2560 мм
ширина405 мм
высота1970 мм
масса2430 кг
нормативный документСерия 1.034.1-1

1ВД 26-20  Вентиляционные блоки-диафрагмы жесткости с одной консолью (Серия 1.034.1-1).