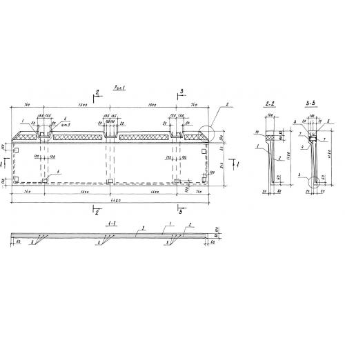
ПБК 45.12

Чертеж изделия:
Характеристики изделия:
ПараметрЗначение
длина4480 мм
ширина1180 мм
высота100 мм
вес1210 кг
серия1.100.1-7

ПБК 45.12 Плиты балконные плоские сплошные консольные по серии 1.100.1-7.