НЦ 23.20.45

Чертеж изделия:
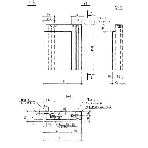
Характеристики изделия:
ПараметрЗначение
длина2350 мм
ширина450 мм
высота1980 мм
вес4195 кг
серия1.116-5

НЦ 23.20.55 Наружные цокольные угловые блоки по серии 1.116-5.