ПК 41.10 Плиты перекрытия железобетонные многопустотные

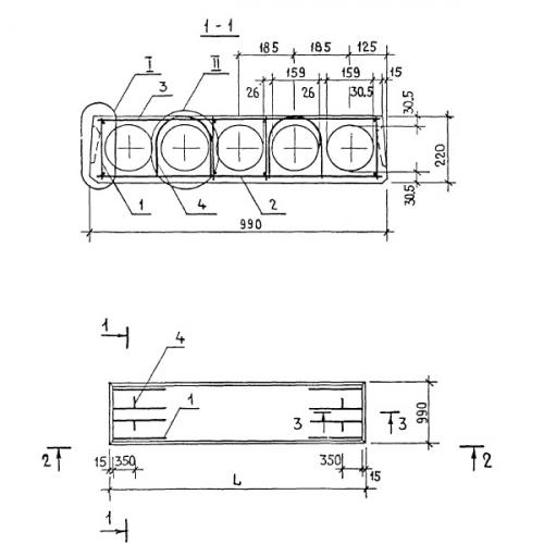
Чертеж изделия:
Характеристики изделия:
ПараметрЗначение
длина4060 мм
ширина990 мм
высота220 мм
масса1225 кг
нормативный документСерия 1.141-1

ПК 41.10  Плиты перекрытия железобетонные многопустотные Серия 1.141-1.