П 51.12.22

Чертеж изделия:
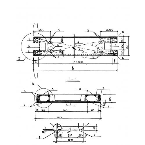
Характеристики изделия:
ПараметрЗначение
длина5080 мм
ширина1190 мм
высота220 мм
вес2825 кг
серия1.243.1 КЛ-3

П 51.12.22 Панели перекрытий сплошные по серии 1.243.1 КЛ-3.