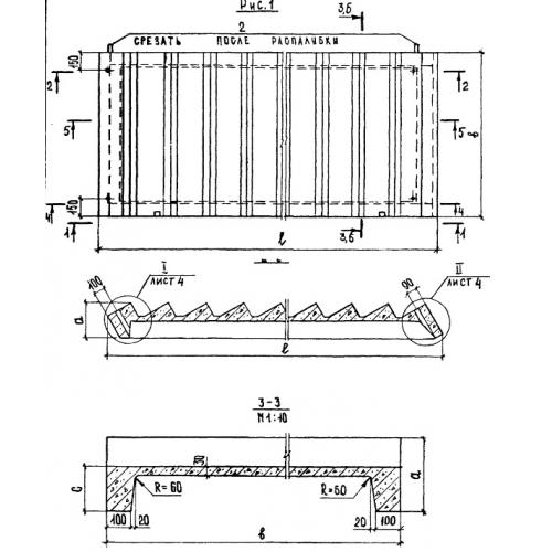
ЛМ 17.12

Чертеж изделия:
Характеристики изделия:
ПараметрЗначение
длина3913 мм
ширина1200 мм
высота295 мм
серия1.251-3

ЛМ 17.12 Лестничные марши ребристые по серии 1.251-3.