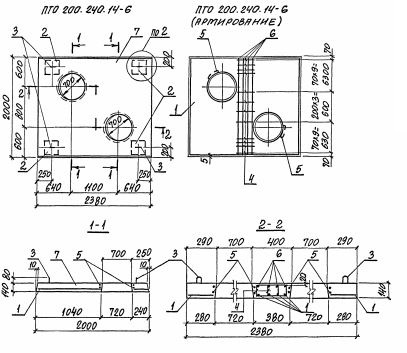
ПТО 200.240.14 плиты лотков

Чертеж изделия:
Характеристики изделия:
ПараметрЗначение
длина2000 мм
ширина2380 мм
высота140 мм
масса1680 кг
нормативный документСерия 3.006.1-8

ПТО 200.240.14  Плиты перекрытия каналов с отверстиями Серия 3.006.1-8.