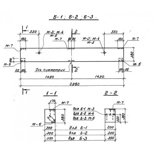
Б-3

Чертеж изделия:
Характеристики изделия:
ПараметрЗначение
длина2980 мм
ширина350 мм
высота380 мм
вес400 кг
серия3.016-3

Б-3 Керамзитобетонные блоки  по серии 3.016-3.