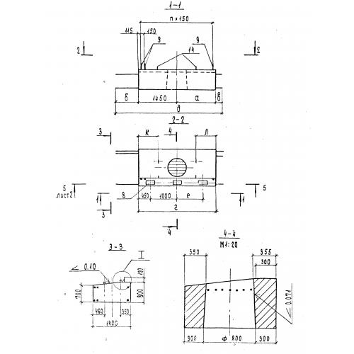
Р3

Чертеж изделия:
Характеристики изделия:
ПараметрЗначение
длина4600 мм
ширина1400 мм
высота800 мм
вес6900 кг
нормативный документСерия 3.503.1-95

Р3 Блоки ригеля по Серии 3.503.1-95.