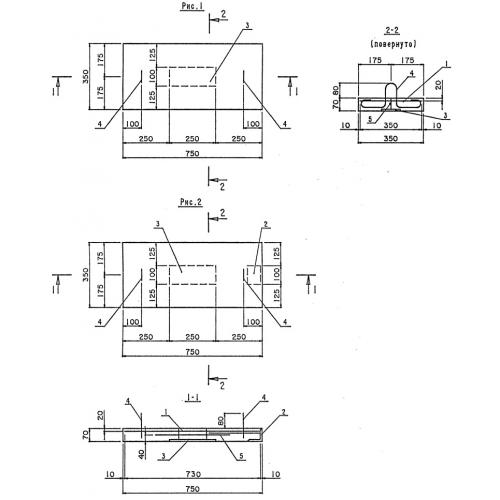
СЛ 75.35.7 Блоки ступеней лестничных сходов
Характеристики изделия:
| Параметр | Значение |
|---|---|
| длина | 750 мм |
| ширина | 350 мм |
| высота | 70 мм |
| вес | 50 кг |
| нормативный документ | Серия 3.503.1-96 |
Цена:
Рассчитать стоимостьСЛ 150.35.7 Ступени лестничных сходов по Серии 3.503.1-96.
