ЛП 13-17

Чертеж изделия:
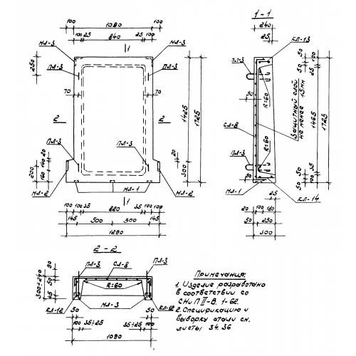
Характеристики изделия:
ПараметрЗначение
длина1290 мм
ширина1725 мм
высота300 мм
масса510 кг
нормативный документСерия ИИС 04-7

ЛП 13-17 Лестничные площадки по Серии ИИС 04-7.