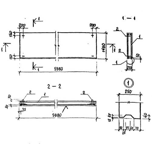
П 60.15.2.5

Чертеж изделия:
Характеристики изделия:
ПараметрЗначение
длина5980 мм
ширина1490 мм
высота250 мм
вес2230 кг
серияТП 213-2-183

П 60.15.2.5 Плиты перекрытия по проекту ТП 213-2-183.